所有栏目

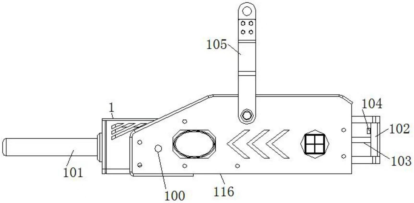
合肥赛德重工机械有限公司核心产品——液压式螺栓铳

2025/12/2

合肥赛德重工机械有限公司核心产品——液压式螺栓铳
 
合肥赛德重工机械有限公司核心产品——液压式螺栓铳(专利号CN219967875U)持续热销,成工业螺栓拆装优选装备。
 
该螺栓铳采用液压驱动,冲击力大且无后座力,适配8mm-40mm六角/梅花螺栓,轻松拆解锈死螺栓,兼容起重机、球磨机等多场景维护。
 
配套全周期服务:售前选型指导、售中操作培训、售后质保维修+易损件供应,让客户采购无忧。
 
详询参数、报价或申请样品,可联系赛德重工官方销售,获取专属服务!

合肥起重机厂家